Запасные части ЧТЗ Запасные части ЧТЗ
Махачкала
Например:
Актобе
Алдан
или
Выбрать автоматически
Актобе
Алдан
Алматы
Алчевск
Архангельск
Астана
Астрахань
Атырау
Баку
Балашиха
Барнаул
Белгород
Бердянск
Бишкек
Владивосток
Владикавказ
Воркута
Воронеж
Горловка
Грозный
Донецк
Екатеринбург
Иваново
Ижевск
Иркутск
Казань
Калининград
Каменск-Уральский
Караганда
Каховка
Кемерово
Киров
Комсомольск-на-Амуре
Костанай
Краснодар
Красноярск
Красный луч
Ленск
Луганск
Магадан
Магнитогорск
Макеевка
Махачкала
Мелитополь
Минск
Мирный (Якутия)
Москва
Мурманск
Нерюнгри
Нижневартовск
Нижний Новгород
Нижний Тагил
Новая каховка
Новокузнецк
Новосибирск
Новый Уренгой
Норильск
Ноябрьск
Нур-Султан
Омск
Оренбург
Ош
Павлодар
Пермь
Петрозаводск
Петропавловск
Петропавловск-Камчатский
Псков
Ростов-на-Дону
Салехард
Самара
Санкт-Петербург
Саратов
Севастополь
Семей
Симферополь
Сочи
Ставрополь
Сургут
Сыктывкар
Тараз
Ташкент
Токмак
Томск
Тында
Тюмень
Ульяновск
Усинск
Усть-Каменогорск
Уфа
Хабаровск
Ханты-Мансийск
Херсон
Челябинск
Чита
Шымкент
Экибастуз
Энергодар
Южно-Сахалинск
Якутск
Ваш город
Махачкала
Войти
Запасные части к тракторам на одном сайте
+7 (932) 303-00-10
+7 (932) 303-00-10
г. Махачкала, Индустриальный пер., д. 5
Пн-Пт: 9:30-18:30 Cб-Вс: Выходной
Отправить заявку


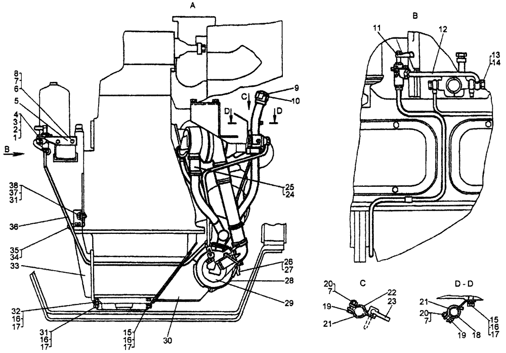
Установка подогревателя для двигателя с пусковым двигателем на Т10М / Б10М


/
с НДС 20%
Описание
Установка подогревателя ПЖД-30Е для трактора Т10М с пусковым двигателем
# Номер запчасти Наименование детали Кол-во в сборке
- 64-43-6СП Установка подогревателя ПЖД-30Е
(для трактора с пусковым двигателем)
1
1 51-43-219СП Кронштейн 1
2 - Болт M10-6g×25.58.019 14
3 - Шайба 10 ОТ 65Г 09 20
4 31308-1 Шайба 18
5 64-43-186СП Лента 1
6 24-74-225 Втулка 3
7 700-28-2376 Болт 3
8 700-46-2223 Рукав 2
9 - Хомут червячный 32-50/12 W2 14
10 51-43-224СП Труба 1
11 - Болт M8-6g×50.58.019 1
12 - Шайба 8Т 65Г 09 8
13 31386 Шайба 3
14 700-46-2223-02 Рукав 1
15 40863 Прокладка 1
16 51-43-251СП Патрубок 1
17 51-43-265СП Труба 1
18 46792 Прокладка 1
19 48-10-166-05СП Установка щитка управления подогревателем 1
20 51-43-204 Патрубок 1
21 24-43-93 Трос 1
22 51-43-259 Труба 1
23 21-43-51 Скоба 3
24 21-43-52 Кронштейн 1
25 700-40-9014 Рукав 1
26 700-41-2716 Болт поворотного угольника 1
27 51-06-8 Кольцо 4
28 - Проволока 1-С-Т 1 м
29 700-46-2223-01 Рукав 1
30 64-43-155СП Трубка 1
31 081430 Муфта зажимная 2
32 - Болт M6-6g×20.58.019 5
33 700-40-3645 Рукав 2
34 21-43-115СП Кран сливной 1
35 - Болт M8-6g×20.58.019 4
36 700-40-3567 Прокладка 1
37 700-40-9013 Рукав 2
38 - Хомут червячный 32-50/12 W2 6
39 51-43-209СП Днище 1
40 - Болт M8-6g×25.88.35.019 3
41 - Гайка М8-7Н.6.019 3
42 40938 Кольцо 2
43 700-41-3539 Болт поворотного угольника 1
44 64-43-157СП Трубка 1
45 64-43-1ЗЗСП Труба 1
46 51-43-271СП Патрубок 1
47 700-46-2211 Рукав 1
48 64-43-158СП Трубка 1
49 - Хомут червячный 32-50/12 W2 4
50 700-46-2286 Рукав 2
51 64-43-156СП Трубка 1
52 ПЖД 30В-1015200ГЧ 1 Насосный агрегат ПЖД 30В 1
53 40920 Кольцо 4
54 700-41-3540 Болт поворотного угольника 2
1 Поступает в комплекте с подогревателем жидкостным дизельным ПЖД-30Е
# Номер запчасти Наименование детали Кол-во в сборке
1 31358-1 Шайба 3
2 - Шайба 6Т 65Г 09 3
3 - Гайка М6-7Н.6.019 3
4 - Болт M6-6g×20.58.019 5
5 51-43-182 Кронштейн 1
6 31386 Шайба 3
7 - Шайба 8Т 65Г 09 8
8 - Болт M8-6g×20.58.019 4
9 24-43-81 Пробка заливной горловины 1
10 40269 Прокладка 1
11 - Кран ПП8 1
12 64-43-132СП Трубка 1
13 700-41-3467 Болт поворотного угольника 1
14 51-06-8 Кольцо 4
15 - Болт M10-6g×25.58.019 14
16 - Шайба 10 ОТ 65Г 09 18
17 31308-1 Шайба 18
18 51-43-278 Кронштейн 1
19 - Болт M8-6g×25.88.35.019 3
20 - Гайка М8-7Н.6.019 3
21 21-43-51 Скоба 3
22 21-43-126СП Кронштейн 1
23 51-43-76 Ручка 1
24 700-40-3645 Рукав 2
25 - Хомут червячный 32-50/12 W2 14
26 700-28-2376 Болт 3
27 24-74-225 Втулка 3
28 51-43-253СП Лента 2
29 ПЖД 30Е-1015200ГЧ 1 Котел подогревателя ПЖД 30В 1
30 51-43-269СП Кронштейн 1
31 - Гайка М10-7Н.6.019 2
32 - Болт M10-6g×20.58.019 4
33 51-43-227СП Патрубок 1
34 700-40-2654 Прокладка 4
35 41627 Хомутик 4
36 51-43-255СП Трубка 1
37 64-43-90 Стяжка 2
38 18-14-122 Пластина 1
1 Поступает в комплекте с подогревателем жидкостным дизельным ПЖД-30Е
Установка подогревателя для двигателя с пусковым двигателем