Запасные части ЧТЗ Запасные части ЧТЗ
Махачкала
Например:
Актобе
Алдан
или
Выбрать автоматически
Актобе
Алдан
Алматы
Алчевск
Архангельск
Астана
Астрахань
Атырау
Баку
Балашиха
Барнаул
Белгород
Бердянск
Бишкек
Владивосток
Владикавказ
Воркута
Воронеж
Горловка
Грозный
Донецк
Екатеринбург
Иваново
Ижевск
Иркутск
Казань
Калининград
Каменск-Уральский
Караганда
Каховка
Кемерово
Киров
Комсомольск-на-Амуре
Костанай
Краснодар
Красноярск
Красный луч
Ленск
Луганск
Магадан
Магнитогорск
Макеевка
Махачкала
Мелитополь
Минск
Мирный (Якутия)
Москва
Мурманск
Нерюнгри
Нижневартовск
Нижний Новгород
Нижний Тагил
Новая каховка
Новокузнецк
Новосибирск
Новый Уренгой
Норильск
Ноябрьск
Нур-Султан
Омск
Оренбург
Ош
Павлодар
Пермь
Петрозаводск
Петропавловск
Петропавловск-Камчатский
Псков
Ростов-на-Дону
Салехард
Самара
Санкт-Петербург
Саратов
Севастополь
Семей
Симферополь
Сочи
Ставрополь
Сургут
Сыктывкар
Тараз
Ташкент
Токмак
Томск
Тында
Тюмень
Ульяновск
Усинск
Усть-Каменогорск
Уфа
Хабаровск
Ханты-Мансийск
Херсон
Челябинск
Чита
Шымкент
Экибастуз
Энергодар
Южно-Сахалинск
Якутск
Ваш город
Махачкала
Войти
Запасные части к тракторам на одном сайте
+7 (932) 303-00-10
+7 (932) 303-00-10
г. Махачкала, Индустриальный пер., д. 5
Пн-Пт: 9:30-18:30 Cб-Вс: Выходной
Отправить заявку


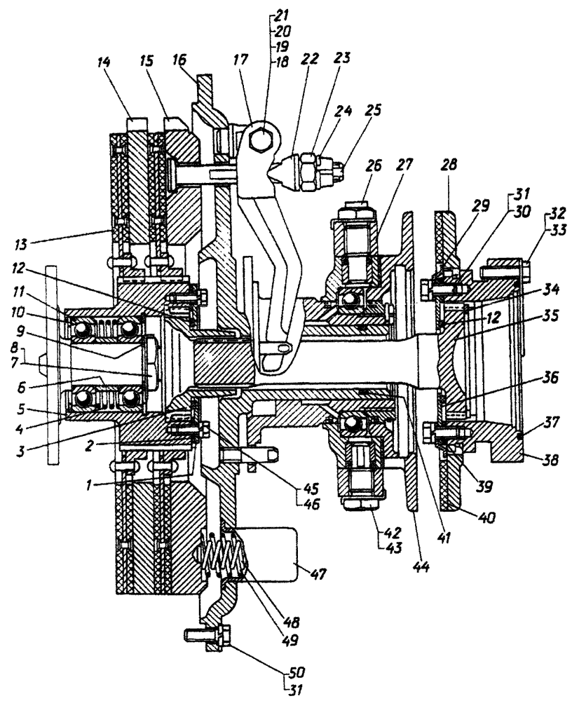
Муфта сцепления на Т10М / Б10М


/
с НДС 20%
Описание
Муфта сцепления на Т10М
#Номер запчастиНаименование деталиКол-во в сборке
-18-14-4СП 1
20-14-2СП 2
Муфта сцепления1
118-14-114Крышка1
2700-40-2532
700-40-2532-1
Прокладка1
318-14-78Муфта1
438462Пружина1
518-14-104Барабан1
618-14-62Втулка1
73170Шайба1
8700-30-2032Гайка1
950-14-2Пластина1
1018-14-66Кольцо2
11-Подшипник
180308У1С9Ш
180308УС9
2
1246812Кольцо2
1318-14-135СПДиск ведомый2
1418-14-44Диск ведущий1
1550-14-64Диск нажимной1
1618-14-142СПФланец1
1718-14-92Рычаг3
1818-14-49Палец3
1918-14-69Ролик3
20-Гайка М12х1.25-6Н.6А.0193
21-Шплинт 3,2x25.0193
2218-14-47Призма3
2318-14-130Гайка3
24-Проволока КО30,15 м
2518-14-131Болт3
2618-14-128Палец1
2724-14-104СПРычаг1
2818-14-140-01СПТормозок1
2918-14-122Пластина4
30-Болт М12x25.88.45.0194
31-Шайба 12 0Т65Г 0916
3212304Болт8
3331545Пластина4
34700-58-2520Кольцо1
3550-14-23Вал1
3618-14-125Крышка1
3721363Кольцо1
3850-14-26Муфта1
39700-40-5259
700-40-5259-1
Прокладка1
4018-14-135Накладка фрикционная1
41700-40-2122Кольцо1
4218-14-127Палец1
4331364Пластина2
4418-14-133СПМуфта включения1
45-Болт М10x25.46.0194
46-Шайба 10 ОТ 65Г 094
4750-14-63Стакан12
4838461Пружина12
4938460Пружина12
50-Болт M12-6gx35.46.01912
1 Заказывать 50-14-600СП Муфта сцепления. Комплект.
2 Для болотоходного трактора заказывать 48-14-600СП Муфта сцепления. Комплект.
Муфта сцепления