Запасные части ЧТЗ Запасные части ЧТЗ
Махачкала
Например:
Актобе
Алдан
или
Выбрать автоматически
Актобе
Алдан
Алматы
Алчевск
Архангельск
Астана
Астрахань
Атырау
Баку
Балашиха
Барнаул
Белгород
Бердянск
Бишкек
Владивосток
Владикавказ
Воркута
Воронеж
Горловка
Грозный
Донецк
Екатеринбург
Иваново
Ижевск
Иркутск
Казань
Калининград
Каменск-Уральский
Караганда
Каховка
Кемерово
Киров
Комсомольск-на-Амуре
Костанай
Краснодар
Красноярск
Красный луч
Ленск
Луганск
Магадан
Магнитогорск
Макеевка
Махачкала
Мелитополь
Минск
Мирный (Якутия)
Москва
Мурманск
Нерюнгри
Нижневартовск
Нижний Новгород
Нижний Тагил
Новая каховка
Новокузнецк
Новосибирск
Новый Уренгой
Норильск
Ноябрьск
Нур-Султан
Омск
Оренбург
Ош
Павлодар
Пермь
Петрозаводск
Петропавловск
Петропавловск-Камчатский
Псков
Ростов-на-Дону
Салехард
Самара
Санкт-Петербург
Саратов
Севастополь
Семей
Симферополь
Сочи
Ставрополь
Сургут
Сыктывкар
Тараз
Ташкент
Токмак
Томск
Тында
Тюмень
Ульяновск
Усинск
Усть-Каменогорск
Уфа
Хабаровск
Ханты-Мансийск
Херсон
Челябинск
Чита
Шымкент
Экибастуз
Энергодар
Южно-Сахалинск
Якутск
Ваш город
Махачкала
Войти
Запасные части к тракторам на одном сайте
+7 (932) 303-00-10
+7 (932) 303-00-10
г. Махачкала, Индустриальный пер., д. 5
Пн-Пт: 9:30-18:30 Cб-Вс: Выходной
Отправить заявку


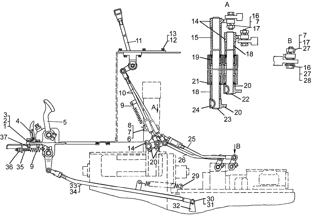
Управление поворотом и тормозами трактора с гидромеханической трансмиссией на Т10М / Б10М


/
с НДС 20%
Описание
Управление поворотом и тормозами для трактора Т10М с гидромеханической трансмиссией
#Номер запчастиНаименование деталиКол-во в сборке
-64-13-4СП
64-13-6СП 1
Управление поворотом и тормозами(для трактора с гидромеханической трансмиссией)1
164-13-138Зацеп1
23135-1Шайба1
3-Шайба 12 ОТ 65Г 096
4700-38-2089Пружина1
564-13-128СПМеханизм управления тормозами1
6-Болт М10-6g×30.58.0196
7-Шайба 10 ОТ 65Г 0910
864-13-55Кронштейн1
9700-38-2279Пружина4
1064-13-191СПТяга2
1164-13-153СПМеханизм управления1
12-Болт М8-6g×25.88.35.0196
13-Шайба 8Т 65Г 096
1464-13-45Рычаг2
1564-13-77Втулка1
16700-28-2508Болт8
17-Гайка М10-7Н.6.0198
1864-13-47Втулка2
19-Подшипник 942/204
2064-13-46Рычаг2
21700-42-2503Кольцо4
2264-13-48Валик1
2364-13-78Валик1
2434126; -Шпонка; Шпонка 5×7,54
2564-13-192-01СП
64-13-172-01СП 1
Тяга1
2664-13-192СП
64-13-172СП 1
Тяга1
2731437Шайба16
2831308-1Шайба8
2938333Пружина2
3017317Палец8
31-Шплинт 3,2×258
3262-18-4Рычаг2
3364-13-138СП
64-13-159СП 1
Тяга1
3464-13-139СП
64-13-160СП 1
Тяга1
3506412Винт натяжной2
36-Гайка М8×1-6Н.8.45.0194
37-Болт М12-6g×55.58.0194
1 Для болотоходного трактора.
Управление поворотом и тормозами трактора с гидромеханической трансмиссией