Запасные части ЧТЗ Запасные части ЧТЗ
Махачкала
Например:
Актобе
Алдан
или
Выбрать автоматически
Актобе
Алдан
Алматы
Алчевск
Архангельск
Астана
Астрахань
Атырау
Баку
Балашиха
Барнаул
Белгород
Бердянск
Бишкек
Владивосток
Владикавказ
Воркута
Воронеж
Горловка
Грозный
Донецк
Екатеринбург
Иваново
Ижевск
Иркутск
Казань
Калининград
Каменск-Уральский
Караганда
Каховка
Кемерово
Киров
Комсомольск-на-Амуре
Костанай
Краснодар
Красноярск
Красный луч
Ленск
Луганск
Магадан
Магнитогорск
Макеевка
Махачкала
Мелитополь
Минск
Мирный (Якутия)
Москва
Мурманск
Нерюнгри
Нижневартовск
Нижний Новгород
Нижний Тагил
Новая каховка
Новокузнецк
Новосибирск
Новый Уренгой
Норильск
Ноябрьск
Нур-Султан
Омск
Оренбург
Ош
Павлодар
Пермь
Петрозаводск
Петропавловск
Петропавловск-Камчатский
Псков
Ростов-на-Дону
Салехард
Самара
Санкт-Петербург
Саратов
Севастополь
Семей
Симферополь
Сочи
Ставрополь
Сургут
Сыктывкар
Тараз
Ташкент
Токмак
Томск
Тында
Тюмень
Ульяновск
Усинск
Усть-Каменогорск
Уфа
Хабаровск
Ханты-Мансийск
Херсон
Челябинск
Чита
Шымкент
Экибастуз
Энергодар
Южно-Сахалинск
Якутск
Ваш город
Махачкала
Войти
Запасные части к тракторам на одном сайте
+7 (932) 303-00-10
+7 (932) 303-00-10
г. Махачкала, Индустриальный пер., д. 5
Пн-Пт: 9:30-18:30 Cб-Вс: Выходной
Отправить заявку


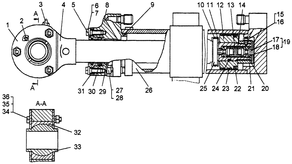
Гидроцилиндр подъёма отвала на Т10М / Б10М


/
с НДС 20%
Описание
Гидроцилиндр подъёма отвала на Т10М
# Номер запчасти Наименование детали Кол-во в сборке
- 131-26-108-02СП Гидроцилиндр 2
1 50-26-882 Крышка 2
2 - Шпонка 3-8х7-20 2
3 - Масленка 1.3.Ц6 1
4 131-26-113СП Шток 1
5 - Грязесъемник Е50-А-063-5 1
6 - Болт M12-6g×30.58.019 4
7 - Шайба 12 ОТ 65 Г09 4
8 50-26-625СП Крышка 1
9 - Кольцо 095-100-30-2-2 1
10 700-58-2571 Кольцо пружинное 1
11 50-26-876 Втулка 1
12 50-26-878 Поршень 1
13 700-38-2879 Пружина 1
14 50-26-875 Проставка 1
15 700-35-2177 Винт 1
16 700-31-2584 Шайба стопорная 1
17 50-50-245 Клапан 2
18 50-26-724 Втулка 2
19 50-26-507СП Клапан 2
20 700-41-3663 Гайка 1
21 - Кольцо 024-030-36-2-2 2
22 - Уплотнение Е13М-100-5 1
23 - Кольцо Е21-100-12-3.0 2
24 - Кольцо 045-050-30-2-2 1
25 50-26-877 Палец 1
26 131-26-109-02СП Корпус 1
27 - Болт М16x1,5-6g×60.58.019 4
28 - Шайба 16 ОТ 65Г 09 4
29 - Кольцо Е22-063-30-2.5 1
30 - Манжета Е32-063-4 1
31 50-26-885-01 Фланец 1
32 50-26-884
50-26-884-01 1
Сухарь 2
33 50-26-883
50-26-883-01 1
Сфера 1
34 - Болт М10-6g×75.58.019 3
35 - Шайба 10 ОТ 65Г 09 3
36 - Гайка М10-6Н.6.019 3
1 Для тропиков
Гидроцилиндр подъёма отвала