Запасные части ЧТЗ Запасные части ЧТЗ
Махачкала
Например:
Актобе
Алдан
или
Выбрать автоматически
Актобе
Алдан
Алматы
Алчевск
Архангельск
Астана
Астрахань
Атырау
Баку
Балашиха
Барнаул
Белгород
Бердянск
Бишкек
Владивосток
Владикавказ
Воркута
Воронеж
Горловка
Грозный
Донецк
Екатеринбург
Иваново
Ижевск
Иркутск
Казань
Калининград
Каменск-Уральский
Караганда
Каховка
Кемерово
Киров
Комсомольск-на-Амуре
Костанай
Краснодар
Красноярск
Красный луч
Ленск
Луганск
Магадан
Магнитогорск
Макеевка
Махачкала
Мелитополь
Минск
Мирный (Якутия)
Москва
Мурманск
Нерюнгри
Нижневартовск
Нижний Новгород
Нижний Тагил
Новая каховка
Новокузнецк
Новосибирск
Новый Уренгой
Норильск
Ноябрьск
Нур-Султан
Омск
Оренбург
Ош
Павлодар
Пермь
Петрозаводск
Петропавловск
Петропавловск-Камчатский
Псков
Ростов-на-Дону
Салехард
Самара
Санкт-Петербург
Саратов
Севастополь
Семей
Симферополь
Сочи
Ставрополь
Сургут
Сыктывкар
Тараз
Ташкент
Токмак
Томск
Тында
Тюмень
Ульяновск
Усинск
Усть-Каменогорск
Уфа
Хабаровск
Ханты-Мансийск
Херсон
Челябинск
Чита
Шымкент
Экибастуз
Энергодар
Южно-Сахалинск
Якутск
Ваш город
Махачкала
Войти
Запасные части к тракторам на одном сайте
+7 (932) 303-00-10
+7 (932) 303-00-10
г. Махачкала, Индустриальный пер., д. 5
Пн-Пт: 9:30-18:30 Cб-Вс: Выходной
Отправить заявку


Механизм проворачивания вала П-23У трактора в Махачкале


/
с НДС 20%
Описание

Снятие механизма проворачивания вала Т-170

Слейте масло из корпуса конических шестерен механизма проворачивания вала двигателя, вывернув сливную пробку из корпуса.

Выверните четыре болта крепления кронштейна валика 1 (рис. 101) заводной рукоятки и снимите кронштейн с валиком.

Установка механизма проворачивания вала
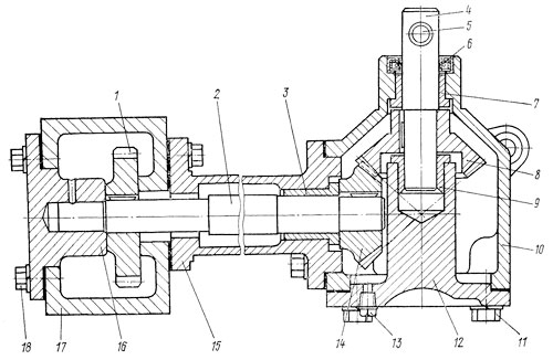
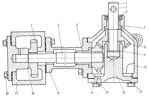
Рис. 101. Установка механизма проворачивания вала

Выверните два болта крепления кронштейна 4 к корпусу 3 конических шестерен. Выведите болт крепления корпуса конических шестерен, сдвиньте корпус с шейки кронштейна 4 и снимите с двигателя.

Выверните три болта крепления опоры 6 к корпусу распределительных шестерен и снимите ее. Выверните два болта крепления кронштейна 4 к корпусу распределительных шестерен 5. Спрессуйте шестерню 1 (рис. 102) с валика 2 легкими ударами по фланцу кронштейна или по торцу валика в сторону маховика дизеля.

Механизм проворачивания вала
Рис. 102. Механизм проворачивания вала

Снимите кронштейн 15 с валиком с двигателя.

Выньте валик из кронштейна, спрессуйте шестерню 14 съемником и удалите шпонку из паза валика.

Корпус конических шестерен Т-170

Механизм проворачивания вала
Рис. 102. Механизм проворачивания вала

Разборка корпуса конических шестерен

Выверните четыре болта 11 крепления опоры нижнего подшипника 12 валика конической шестерни 8 и снимите опору. Не разукомплектовывайте опору нижнего подшипника 12 с корпусом 10, так как их втулки обработаны в сборе.

Спрессуйте съемником коническую шестерню 8, используя два резьбовых отверстия диаметром М8 в торце шестерни. Выньте из паза валика 4 шпонку. Выньте валик из корпуса конических шестерен. Выпрессовывайте сальник 6 и железографитовые втулки 3,7 и 9 только при износе для замены.

Технические требования на корпус конических шестерен

  1. Зазор между втулкой корпуса конических шестерен и валиком 0,02...0,124 мм, допустимый зазор 0,2 мм, предельный зазор 0,3 мм.
  2. Натяг между опорой нижнего подшипника, кронштейном, корпусом конических шестерен и втулками 0,048...0,145 мм, допустимый натяг 0,015 мм. Появление зазора не допускается.
  3. Зазор между втулкой опоры нижнего подшипника и валиком 0,02...0,062 мм, допустимый зазор 0,11 мм, предельный зазор 0,2 мм.
  4. Зазор между втулкой кронштейна и валиком кронштейна 0,04...0,125 мм, допустимый зазор 0,2 мм, предельный зазор 0,3 мм.
  5. Зазор между валиком кронштейна и опорой корпуса шестерен распределения 0,032...0,102 мм, допустимый зазор 0,2 мм, предельный зазор 0,45 мм.

Сборка корпуса конических шестерен

Пропитайте железографитовые втулки моторным маслом при температуре масла 343 К (70°С) в течение не менее 20 мин. Сальник 6 выдержите в индустриальном масле И-12 при температуре 323 К (50 °С) в течение не менее 2 ч.

Запрессуйте и расточите совместно втулки 7 и 9 корпуса и опоры нижнего подшипника. Очистите внутреннюю полость корпуса. Запрессуйте сальник 6 в корпус кромкой кожаной манжеты внутрь корпуса. Установите шпонку в паз валика 4. Напрессуйте коническую ведущую шестерню 8 на шейку валика. Смажьте валик моторным маслом и вставьте с помощью конусной оправки во втулку корпуса и сальник. Запрессуйте в валик палец 5.

Установите нижнюю опору с прокладкой на шейку вала и закрепите ее на корпусе четырьмя болтами 11 с пружинными шайбами.

Вверните в нижнюю опору сливную пробку 13.

Установка корпуса конических шестерен

Наденьте на шейку кронштейна 4 (см. рис. 101) прокладку. Установите на шейку кронштейна корпус 3 конических шестерен, введя в зацепление шестерни и закрепите на кронштейне двумя болтами с пружинными шайбами. Закрепите корпус на блоке пускового двигателя болтом с пружинной шайбой, предварительно выбрав зазор между блоком и корпусом набором прокладок толщиной 0,5 и 0,1 мм.

Наденьте на валик корпуса конических шестерен кулак валика 1 заводной рукоятки и закрепите кронштейн валика на выпускном коллекторе дизеля четырьмя болтами с пружинными шайбами. Выверните из корпуса конических передач пробку 2 и залейте в зависимости от сезона: летом — трансмиссионное масло ТЭп-15, зимой — ТСп-10 ЭФО в количестве 0,2 л.

Сборка и установка кронштейна Т-170

Сборка кронштейна

Вставьте валик 2 во втулку 3 кронштейна 15 со стороны корпуса шестерен распределения. Установите в паз валика шпонку и напрессуйте коническую шестерню 14 (см. рис. 102). С противоположной стороны валика установите шпонку под шестерню 1.

Установка кронштейна

Приклейте солидолом прокладку к переднему фланцу кронштейна 15 и заведите кронштейн валиком в отверстие корпуса 17 распределительных шестерен.

Через люк в корпусе распределительных шестерен посадите шестерню 1 на шейку валика 2 и, совместив шпонку со шпоночным пазом, продвиньте валик так, чтобы шпонка вошла в паз шестерни.

Установите и закрепите тремя болтами 18 на корпусе распределительных шестерен технологическую опору.

Запрессуйте валик в шестерню легкими ударами по торцу.

Снимите технологическую опору и убедитесь в наличии шпонки на валике. Установите опору 16 с прокладкой. Закрепите опору тремя болтами 18 с пружинными шайбами. Закрепите кронштейн 15 двумя болтами с пружинными шайбами к корпусу распределительных шестерен.

Механизм проворачивания вала