Снимите передние панели пола кабины. Отсоедините провод от клеммы аккумуляторной батареи, выверните болты крепления основания сиденья водителя и снимите сиденье с основанием. Выверните болты крепления задней панели пола и снимите панель.
Расшплинтуйте и выбейте пальцы 4 ( рис. 222 ), соединяющие тяги сервомеханизма бортовых фрикционов с рычагами механизма управления поворотом.
Расшплинтуйте и выбейте пальцы 2, соединяющие тяги блокировочного механизма коробки передач и промежуточные рычаги кронштейна 1.
Отсоедините пружины 5 от тяг управления тормозами. Расшплинтуйте и выбейте пальцы 3, соединяющие тяги управления тормозами с рычагами механизма управления поворотом. Отсоедините от правого рычага тягу педали тормоза. Отверните четыре болта крепления механизма управления поворотом и снимите его с опоры.
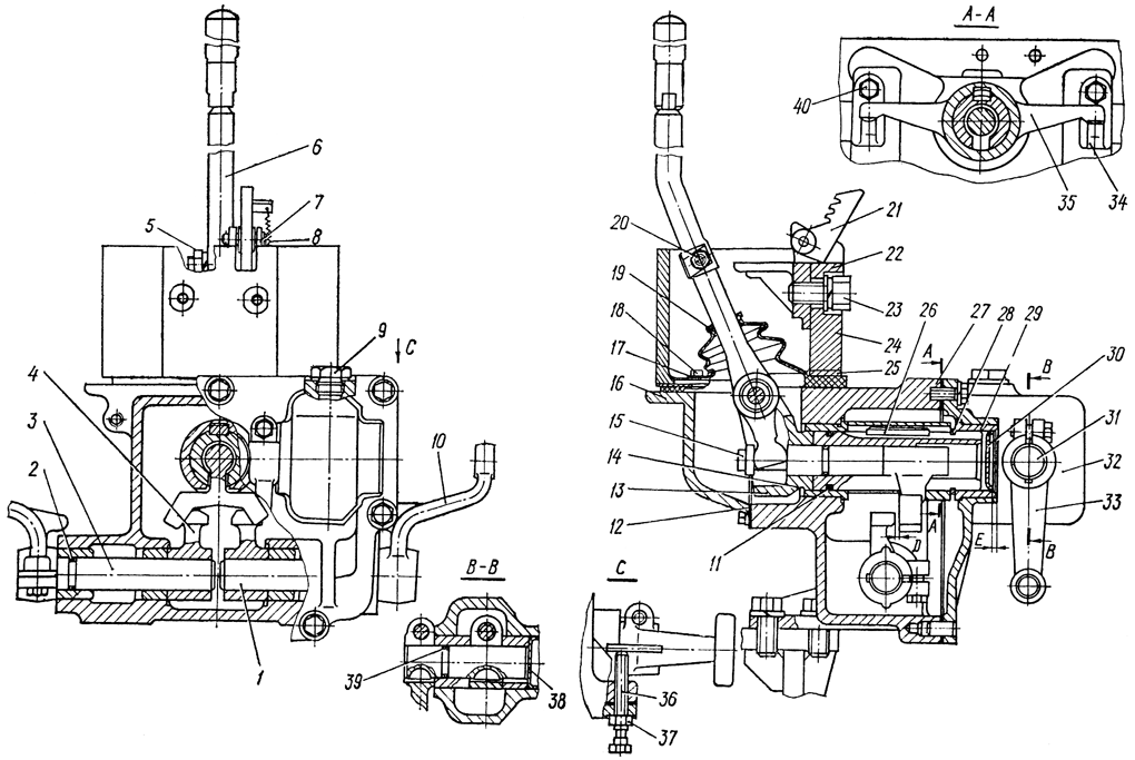
Разборка корпуса. Выверните восемь болтов крепления крышки 32 ( рис. 223 ) с корпуса 27 и разъедините узлы над ванночкой для слива масла.
Слейте масло. Выверните два болта 23 и снимите кронштейн 22 с защелкой 21. Выверните четыре болта 18 и снимите кожух 24 и рамку 25.
Выверните четыре болта крепления кожуха 16 и снимите кожух. Расшплинтуйте палец, соединяющий рычаг 6 с проушиной полого валика 13, и выньте палец. Выньте рычаг с чехлом из проушины. Выверните болты крепления внутренних рычагов 4, выдвиньте валики 1 и 3 из внутренних втулок, совместив шпонку с пазами во втулках. Снимите шпонки и выведите валики из корпуса.
Снимите пружинное кольцо 28 с полого валика, а затем рычаг 35 и шпонку 26. Извлеките рычаг 15 из полого валика. Выньте полый валик из втулки 14 корпуса. Втулки 14 и 29 корпуса и крышки под полый валик 13 растачиваются в собранном узле, поэтому разукомплектовка корпуса и крышки не допускается.
Разборка крышки. Выверните из внутреннего - рычага 34 стяжной болт 40. Выверните из наружного рычага 33 стяжной болт, снимите рычаг и шпонку с валика 31. Выдвиньте валик из крышки до появления уплотнительного кольца 39. Снимите кольцо. Совместите шпонку внутреннего рычага с пазом во втулке. Выбейте валик из втулок крышки вместе с заглушкой 55 легкими ударами по торцу валика со стороны наружного рычага. Выньте внутренний рычаг из окна крышки. Аналогично снимите рычаги с другой стороны крышки. При необходимости выпрессуйте заглушку 30 из втулки 29.
Посадите на шпонку валика 5 наружный рычаг привода тормоза и закрепите его стяжным болтом. Установите в выточку валика уплотнительное кольцо 2 и заведите валик в отверстие корпуса 27 до упора.
На свободный конец валика посадите шпонку и закрепите внутренний рычаг 4 стяжным болтом рычага. Вращение валика 5 в опорных втулках корпуса должно быть свободным, без заеданий; Аналогично соберите валик 1 с рычагом 10 и введите в наружную втулку с другой стороны корпуса. Посадите шпонку на валик 1 и, совместив ее с пазами внутренней втулки и рычага, продвиньте валик в корпус. Закрепите внутренний рычаг стяжным болтом. Вверните регулировочные болты 36 с гайкой 37 в отверстия корпуса.
Наденьте уплотнительное кольцо 11 на полый валик 13 и вставьте валик в отверстие корпуса. Установите в выточку рычага 15 уплотнительное кольцо и введите рычаг в отверстие полого валика 13.
Установите в паз полого валика шпонку 26 и посадите на валик рычаг 35. Закрепите рычаг дружинным кольцом 28, установив его в выточку полого валика.
Наденьте на рычаг управления 6 защитный чехол 19 и закрепите в рычаге зуб 20 защелки гайкой 5 с пружинной шайбой.
Заведите конец рычага управления в проушину полого валика и установите вилкой в выточку рычага 15. Соедините пальцем проушину полого валика 13 с рычагом управления. Палец зашплинтуйте двумя шплинтами.
Запрессуйте заглушку 30, смазанную «Герметиком» во втулку 29 крышки 32 на размер Е от торца втулки до торца заглушки (3 ±0,3) мм.
Посадите в шпоночный паз валика 31 шпонку под, внутренний рычаг 34 управления сервомеханизмом бортовых фрикционов.
Установите внутренний рычаг 34 в окно крышки и введите валик во втулки крышки со стороны, закрываемой заглушкой. Поворотом валика совместите шпонку с торцовым пазом внутренней втулки. Продвиньте валик со шпонкой по пазу до выхода наружу кольцевой канавки валика.
Установите в кольцевую канавку валика уплотнительное кольцо 39, а в паз валика — вторую шпонку. Сдвиньте валик в обратном направлении до совмещения его торца с торцом втулки крышки и закрепите внутренний рычаг 34 стяжным болтом 40.
Установите на свободный конец валика наружный рычаг 33 управления сервомеханизмом и закрепите его стяжным болтом. Запрессуйте заглушку 55, смазанную «Герметиком» в отверстие крышки заподлицо с поверхностью крышки. Аналогично соберите рычаги с другой стороны крышки.
Очистите привалочные поверхности крышки 32, кожуха 16 и корпуса 27 механизма. Крышка и корпус механизма должны быть из одного комплекта. Смажьте прокладку с обеих сторон лаком «Герметик», и установите ее на штифты корпуса. Установите на штифты корпуса крышку и закрепите ее восемью болтами с пружинными шайбами.
Смажьте прокладку 12 с обеих сторон лаком «Герметик» и вместе с кожухом 16 установите на корпус. Закрепите кожух болтами с пружинными шайбами. Установите рамку 25 и кожух 24 на чехол 19 и закрепите четырьмя болтами 18 с гладкими шайбами 17.
Вставьте защелку 21 рычага управления в кронштейн 22. Соедините пальцем, 7 защелку с кронштейном и зашплинтуйте палец. Закрепите кронштейн 22 на кожухе двумя болтами 23 с пружинными и плоскими шайбами. Соедините пружиной 8 защелку с кронштейном.
После сборки отрегулируйте надежную фиксацию рычага управления защелкой 21.
Залейте в механизм управления поворотом через пробку 9 трансмиссионное масло ТСп-10 ЭФО —зимой, летом — ТЭп-15 в количестве 0,9...1,1 литра.
Регулирование заключается в установлении одинакового зазора D между внутренними рычагами 4 и 15.
Переведите рычаг 6 управления поворотом в переднее крайнее положение. Выверните регулировочный болт 35. Поверните наружный рычаг 10 управления тормозом назад до упора внутреннего рычага 4 в рычаг 15. Заверните регулировочный болт 36 до упора в. поверхность наружного рычага 10, затем доверните его на один оборот и законтрите гайкой 37.
Аналогично выполните регулирование зазора с другой стороны механизма управления поворотом.
Установите механизм управления поворотом на опору, закрепленную на коробке передач, и закрепите четырьмя болтами с дружинными шайбами. Наденьте на корпус механизма резиновую уплотнительную прокладку.
Соедините Пальцами 3 ( см. рис. 222 ) тяги управления тормозами с рычагами механизма управления поворотом. Зашплинтуйте пальцы. Подсоедините дополнительно к правому рычагу тягу педали тормоза. Подсоедините пружины 5 к тягам.
Соедините пальцами 2 тяги блокировочного механизма коробки передач и промежуточные рычаги кронштейна 1. Пальцы зашплинтуйте.
Соедините пальцами 4 тяги сервомеханизма -бортовых фрикционов и рычаги механизма управления поворотом. Зашплинтуйте пальцы.
Установите в кабине заднюю панель пола, заведите в отверстие ящика аккумуляторных батарей провод и закрепите панель болтами с пружинными шайбами. Подсоедините провода к клеммам аккумуляторных батарей. Установите на панель основание сиденья вместе с сиденьем и закрепите его болтами к панели.
Установите передние панели пола-в кабину и закрепите болтами с пружинными шайбами.

